Nyomórugók

nyomo.png

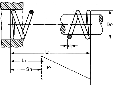
Do = Külső átmérő

d = Huzal átmérő
Sh = A menetek üzközéséig összenyomott rugó névleges hossza

L0 = Terheletlen rugóhossz

L1 =Max összenyomott hossz

P1 =Terhelés L1 hossznál

R = Rugómerevség

A SPEC cég nyomórugói tervező mérnököknek, szerkesztőknek, gyártó és karbantartó osztályoknak biztosítanak igényesen megtervezett rugókat. Ezzel a szolgáltatással időt és így költséget takarít meg, mivel a tervezési és méretezési munka többé már nem szükséges.

Anyagminőség

„C” cikkszám
Ötvözetlen huzal: ASTM A228 vagy AMS 5112 szerint
Rozsdamentes huzal: 302 temperálva, ASTM A313 vagy AMS 5688 szerint

„D”  cikkszám
Ötvözetlen huzal: DIN 17223, JIS G4314 SWP-A/B vagy AMS 5112

Rozsdamentes huzal: 301, 302 vagy 304 temperálva, DIN 17224, JIS G4314 SUS 302/304 vagy AMS 5688 szerint

 

Ötvözetlen huzal esetén megengedhető maximális hőmérséklet 121°C (250°F).

Rozsdamentes huzal esetén megengedhető maximális hőmérséklet 260°C (500°F).

A rozsdamentes huzal enyhe mágnesessége a hidegformázó gyártás következménye. A huzal felületén esetlegesen maradék nikkel található, ez normális és nem befolyásolja a működést.


Tűrés

„C” cikkszám

Külső átmérő
1,45 - 3,02 mm ± 0,08 mm
3,05 - 6,10 mm ± 0,13 mm
6,12-12,70 mm

± 0,20 mm

12,73 - 25,40 mm ± 0,38 mm
25,43 - 31,12 mm ± 0,51 mm
31,14 - 37,08 mm ± 0,76 mm
37,11 - 50,08 mm ± 1,02 mm
Terhelés P ± 10%
Rugómerevség R ± 10%

 

L0 hossz
3,05 - 25,40 mm ± 0,79 mm
25,41 - 38,10 mm ± 1,58 mm
38,11 - 88,90 mm

± 3,18 mm

88,91 mm - ± 4,78 mm

 

 

 

 

„D”  cikkszám

Minden méret és erő a DIN 2095 (2. osztály) szabvány szerint.

 

Végződések

„C” cikkszám

1,45 - 2,24 mm külső átmérőnél merőleges és köszörületlen.

2,24 mm külső átmérő felett merőleges és köszörült.

„D”  cikkszám
0,8 mm huzal átmérőig: merőleges és köszörületlen.

1,0 mm huzal átmérőtől: merőleges és köszörült.


Terhelés

A terhelési értékek 50.000 ciklus élettartamra és 50% megengedett feszültséggel méretezettek.Normál körülmények között a rugó az L1 hossznál kisebbre nem nyomható össze. Ahhoz, hogy meghatározhassa a terhelést bármilyen hosszúságnál, vegye a rugómerevség és a tervezett összenyomódás szorzatát.

 

1 lb = 4,448 Newton
1 Newton = 0,225 lb

1 kg = 9,80665 Newtons
1 Newton = 0,10197 kg

 

Felületkezelés

Ötvözetlen huzal - olajozott

Rozsdamentes huzal - kezeletlen

Speciális felületkezelést nagyobb darabszámnál, külön kérésre végzünk, ekkor a szállítási határidő megnövekedhet.

 

Nyomórugó - 316-os rozsdamentes acél

Kiváló hőállósági, korrózióállósági jellemzőinek köszönhetően az alábbi területeken is felhasználható:
• orvosi, sebészeti, állatorvosi és gyógyszeripari alkalmazások
• élelmiszeripari gépek és berendezések
• hajóipar, repülőgépipar
• durva környezeti hatásoknak kitett alkalmazások

Anyagminőség
Rozsdamentes acél: 316 ASTM A313 szerint (kémiailag és fi zikailag)
Rozsdamentes huzal esetén megengedhető maximális hőmérséklet 300°C (570°F).
A rozsdamentes huzal enyhe mágnesessége a hidegformázó gyártás következménye. A huzal felületén esetlegesen maradék nikkel található, ez normális és nem befolyásolja a működést.

Tekercselési irány
Jobb menetes. A menetszám csak tájékoztató jellegű.

Terheletlen rugóhossz
A terheletlen rugóhossz csak tájékoztató jellegű.

Végződések
1,45-2,24mm külső átmérőnél merőleges és köszörületlen
2,24mm külső átmérő felett merőleges és köszörült
Mindezek mellett a 0,5mm alatti huzalátmérővel rendelkező rugók végződése köszörületlen lehet.

Tűrés

Külső átmérő
1,45 - 3,02 mm ± 0,08 mm
3,05 - 6,10 mm ± 0,13 mm
6,12-12,70 mm

± 0,20 mm

12,73 - 25,40 mm ± 0,38 mm
25,43 - 31,12 mm ± 0,51 mm
31,14 - 37,08 mm ± 0,76 mm
37,11 - 50,08 mm ± 1,02 mm

 

L0 hossz
3,05 - 25,40 mm ± 0,79 mm
25,41 - 38,10 mm ± 1,58 mm
38,11 - 88,90 mm

± 3,18 mm

88,91 mm - ± 4,78 mm

 

 

 

 

 

Terhelés és rugómerevség
L1 pontra vonatkozóterhelés (P) és a rugómerevség (R) tűrése +/-10% Normál körülmények között a rugó az L1 hossznál kisebbre nem nyomható össze. Ahhoz, hogy  meghatározhassa a terhelést az összenyomottság bármely helyzetében, vegye a rugómerevség és a tervezett összenyomódás szorzatát. A kapott érték a tűrés miatt csak iránymutató.

Felületkezelés
Eredeti natúr felület, passzivált ASTM A967 szerint Speciális felületkezelést nagyobb darabszámnál, külön kérésre végzünk, ekkor a szállítási határidő megnövekedhet.

Csomagolás
A termékek csomagolása ömlesztve történik. Fizikai jellemzők miatt 0,89mm alatti huzalátmérők esetén a rugók összegabalyodhatnak. Érdeklődjön ultrahangos tisztítás és egyedi csomagolás igénye esetén.